Zum Hauptinhalt springen Zur Suche springen Zur Hauptnavigation springen

Absetzkipperösen

Produktinformationen "Absetzkipperösen"

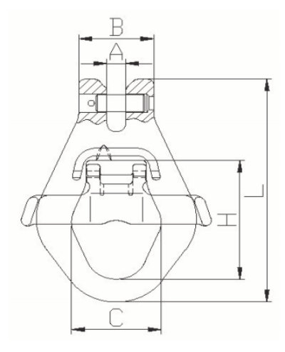
Absetzkipperösen für Absetzkipper Kettengehänge

Tragfähigkeit beträgt 5,3 Tonnen, geeignet für Anschlagkette 13-8.

Maß Tabelle in mm für Kette Tragfähigkeit in kg
A B C H L  
15,5 60 71,5 104 195 13-8 5.300